連接件模型
Connector Model
Connector Model
聯系APAS / Contact us
- 地址:天津市西青經濟技術開發區賽達國際工業城A3-2.
- 郵箱:lxc@apas.com.cn
- 電話:022-87920088
- 傳真:請聯系網絡管理員
- 郵編:300385
- 咨詢熱線:13702119190(24小時服務熱線)
連接件模型
/ Connector Model

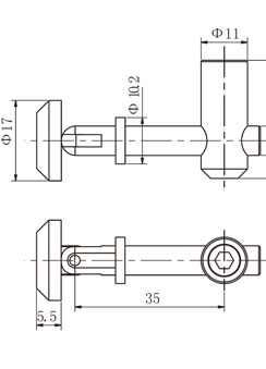
45系列鋁型材斜角連接件3d(數模)模型
產品描述 / Name
45系列鋁型材斜角連接件適用于槽10規格鋁型材45度、90度、135度角度或非常規角度的緊固連接,屬于內置連接配件一種,可以下載配件SLDWORKS三維模型進行框架結構的設計組裝;
022-87920099
可以根據需求進行設計加工,提供上門安裝服務;可以根據特殊需求進行鋁型材開模定制。
* 免費提供工業鋁型材選型手冊 →點擊咨詢
內容來源:http://m.qdhlwj.com.cn 作者:武將 發布日期:2020年03月26日 11時49分 閱讀次數:2916 次
| 45系列鋁型材斜角連接件只能適用于槽10規格鋁型材框架結構非90度結構連接組裝,斜角連接件與內置內連接配件使用方式相似,同樣屬于內置連接配件之一; |
![]() ![]()
|
| 45系列鋁型材斜角連接件滿足了鋁型材框架非標準角度(45度、135度、90度等)連接需求,裝配前需要根據配件規格對鋁型材進行工藝孔加工處理,然后將配件置入工藝孔內鎖緊即可實現快速連接; |
|
槽型規格
|
型材
|
材質
|
訂貨編號
|
|
槽10
|
45系列鋁型材
|
碳鋼(鍍鋅)
|
CE-QC10-45
|
聯系APAS/ Contact us
天津艾普斯工業鋁型材股份有限公司
聯系電話:022-87920088
企業傳真:(避免惡意廣告)請聯系該企業網絡管理員
服務熱線:13702119190 (24小時服務熱線)
Q Q:534973906
企業郵箱: lxc@apas.com.cn
企業地址:天津市西青經濟技術開發區賽達國際工業城A3-2
聯系電話:022-87920088
企業傳真:(避免惡意廣告)請聯系該企業網絡管理員
服務熱線:13702119190 (24小時服務熱線)
Q Q:534973906
企業郵箱: lxc@apas.com.cn
企業地址:天津市西青經濟技術開發區賽達國際工業城A3-2
采購意向留言:* 為必填














.jpg)
QQ咨詢
電話聯系
聯系電話

在線留言
樣冊下載
